Millimeter-Wave Radar Senses Car Occupants
Texas Instruments (TI) announced its mmWave family of single-chip solutions about a year ago. These low-cost radar platforms include the AWR1x family, which handles 76- to 81-GHz sensor arrays for sensor and ADAS applications, and the IWR1x for industrial applications. In addition to the chips, now available in volume, TI offers reference designs to simplify development. Many of the reference designs are based on the AWR1642 EVM (Fig. 1).
1. The AWR1642 EVM module is the basis for numerous TI reference designs.
The AWR1642 EVM has a TI BoosterPack connector on the rear. This can be used to add communication, sensors, or custom peripherals such as wireless communication for mobile applications. The board incorporates a PCB-based antenna system. Also on-board is a CAN transceiver linked to an CAN-FD interface, as well as an XDS110 JTAG debug unit.
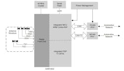
The AWR1642 (Fig. 2) includes the radar front end that’s handled by the on-board C674x DSP. An ARM Cortex-R4F manages communication. This configuration allows the DSP to manage and process radar input and output in real time while the ARM processor handles the results.
2. Incorporated in the AWR1642 are a C674x DSP and an ARM Cortex-R4F to manage communication.
The vehicle-occupant detection system (Fig. 3) runs on the AWR1642 EVM. This particular reference design could be used to detect children left behind in a car, intruder detection, or what positions are occupied in a vehicle.
3. The vehicle-occupant detection system uses the AWR1642 to detect people in a car.
The DSP software removes clutter and analyzes the surrounding area to generate an object presence heat map (Fig. 4). The system also detects object features within zones around the sensor. This information is then shared with the ARM Cortex-R4F. The heat map has a 120-degree field of view (FOV).
4. Reference-design software running on the DSP handles the actual detection of occupants.
Other reference designs based on the same hardware include People Counting and Tracking, as well as Traffic Monitoring Object Detection and Tracking. These can be useful for building other applications, such as object detection for robots.
The reference design delivers source code for processing and detection. This is based on a mmWave software development kit (SDK). The schematics and board layout are also provided.
The automotive-grade AWR1642 is available for $45 in quantity, while the industrial-grade IWR1642 is priced at $20. The latter can be used in industrial settings to detect people within a building for lighting or HVAC support.
About the Author
William G. Wong
Senior Content Director - Electronic Design and Microwaves & RF
I am Editor of Electronic Design focusing on embedded, software, and systems. As Senior Content Director, I also manage Microwaves & RF and I work with a great team of editors to provide engineers, programmers, developers and technical managers with interesting and useful articles and videos on a regular basis. Check out our free newsletters to see the latest content.
You can send press releases for new products for possible coverage on the website. I am also interested in receiving contributed articles for publishing on our website. Use our template and send to me along with a signed release form.
Check out my blog, AltEmbedded on Electronic Design, as well as his latest articles on this site that are listed below.
You can visit my social media via these links:
- AltEmbedded on Electronic Design
- Bill Wong on Facebook
- @AltEmbedded on Twitter
- Bill Wong on LinkedIn
I earned a Bachelor of Electrical Engineering at the Georgia Institute of Technology and a Masters in Computer Science from Rutgers University. I still do a bit of programming using everything from C and C++ to Rust and Ada/SPARK. I do a bit of PHP programming for Drupal websites. I have posted a few Drupal modules.
I still get a hand on software and electronic hardware. Some of this can be found on our Kit Close-Up video series. You can also see me on many of our TechXchange Talk videos. I am interested in a range of projects from robotics to artificial intelligence.
Voice Your Opinion!
To join the conversation, and become an exclusive member of Electronic Design, create an account today!

Leaders relevant to this article:






