Improved Sensors and AI Revolutionize Robotic Intelligence
Download this article in PDF format.
Robots aren’t new—they’ve been improving manufacturing productivity for decades. And as that trend continues, new applications are being discovered. While factory automation will remain the primary application, whole new classes of robots are emerging thanks to several technological advances.
Two primary developments—more sophisticated sensors and artificial intelligence (AI) with machine learning (ML)—are driving the creation of the next generation of robots. Here’s a summary of the robotic evolution that will further assist humans to work smarter and faster.
Sponsored Resources:
- How sensor data is powering AI in robotics
- Smart robots coming soon to a cubicle or kitchen near you
- Enabling the next generation of industrial robots
An Expanding Role for Robotics
Robots for factory automation are beginning to adopt new and better methods. Their functionality, flexibility, and accuracy have improved, thus increasing their use in all sorts of manufacturing. Most industrial robots are sophisticated manipulator arms that are fixed in place to perform specific functions. They weld, paint, assemble, pick-and place-objects, and lift heavy objects.
Factory robots are generally cordoned off to protect humans—they’re real hazards due to their weight, speed and range of motion. A human can easily be hurt if not paying attention. Sealing off the robotic environment limits human access and reduces the danger.
Such factory robots are programmed to do some dedicated operation with precision. They can’t change their function, think, or make decisions. However, there’s a movement underway to make such robots more independent. This requires robots to be equipped with more intelligence and mobility. Thanks to faster embedded controllers, improved sensors, and enhanced software, the factory robot is gradually morphing into a far more intelligent and useful tool.
But that’s not all. These technological developments have helped create two more classes of robots: logistical and collaborative robots. Logistical robots aren’t fixed in place—they’re mobile and designed for material handling. They move objects from place to place. They fetch items and transport them either under the direction of a human controller or independently if given a sufficient amount of mechanical capability and a thinking ability.
Logistical robots keep us notified of their position and have collision-avoidance capability. Some of these robots are available now, but they can be improved with better sensing capability and improved computing power. Military and consumer drones are good examples of modern logistical mobile robots.
An emerging class of robot is the collaborative type. It’s designed to work together with humans, improving or accentuating the capability of the human. It could mean that such a robot will help speed up human operations, improve accuracy, or substitute for some human limitation.
The key to making collaborative robots useful is providing the safety features to ensure that no harm will come to the human. The modern automobile might be called a collaborative robot thanks to the sophisticated advanced driver-assistance systems (ADAS) that provide automatic braking and some steering, lane-departure warnings, backup cameras, and cruise control.
Designing and building 21st century robots like those described require three main things: more and better sensors, increased computing power, and intelligent software. Thanks to electronic vendors like Texas Instruments, these things are now available.
Sophisticated Sensors Score
Static sensors for measuring temperature, light, or pressure are useful to some degree in robotics, but the real need is proximity sensing and the ability to measure distance, speed, and direction. Here’s a summary of wha’is available:
Cameras: High-resolution video camera chips are small and inexpensive. They make excellent sensors, but the interpretation of the video scene, especially estimating distances and object recognition, requires sophisticated software. Though cameras do serve the need in some applications, better alternatives are available. Furthermore, these cameras don’t work well in bad weather or in the dark.
LiDAR: LiDAR (light detection and ranging) is designed and optimized for ADAS and self-driving cars. These complex sensors have a long-range capability. An infrared laser scans surrounding scenes for a full 360 degrees. The reflections are captured, and a 3D image of the surroundings is generated to be analyzed for the purpose of recognizing objects and determining range. Beneficial but still very expensive. They perform poorly in bad weather and in the dark.
Ultrasonic sensors: These devices are like low-frequency radar in that they radiate a 40- to 60-kHz signal that’s reflected from the objects subject to the radiation. The return signal is processed to determine range. Though these sensors are short-range devices, they’re low cost and function reliably in the dark but not in bad weather. Resolution is good.
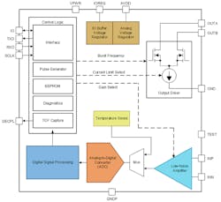
One example product is the TI PGA460 Ultrasonic Signal Processor and Transducer Driver (see figure). It provides the output to operate the external transducer that radiates the signal and picks up the reflections. It’s an excellent proximity detector with accurate measurement capability. The device works with an external MCU.
Shown is a block diagram of TI’s PGA460 ultrasonic signal processor and transducer driver.
It can also work with the TI MSP430FR6047 microcontroller. This MCU SoC is able to function alone as a proximity detector, since the device contains a driver for the transducer, too. And the receiver circuitry is fully integrated.
Radar: Some of the best sensors are the single-chip radars now available. Designed primarily for ADAS and self-driving cars, these radars are amazingly useful. They operate in the 76- to 81-GHz band set aside for these devices. The radiated signal is reflected off a distant object and received. Using the time of radiation and reception as a measure, the distance to the object can be accurately calculated. The speed of the object can also be determined. And the good news is that this type of sensor works just fine in bad weather or in the dark.
Another device suitable for robotic use is the TI AWR1443. It employs frequency-modulated continuous wave (FMCW) on 77 GHz. There are three transmit and four receive channels. All related circuits, including a phase-locked loop (PLL) and analog-to-digital converter (ADC), are integrated on a single chip. The processor is an ARM Cortex-R4F.
Processors: While some sensors contain an on-board MCU, the typical robot has its own dedicated control processor. TI makes one of the devices for robotic service. Called the Sitara, it uses an ARM Cortex-A core. The chip works with TI’s DSP family of processors and software.
Software: Of course, the software makes it all work. The objective today is to make the robot more flexible and intelligent. And it has the human user in mind. Currently, many engineers and programmers are at work seeking AI solutions. One of the most promising is ML. This software is first “trained” by feeding a computer as much relevant data as possible about the application. A special processor or multiple processors digest the data and attempt to make sense out of it. With the best or right data and an ML processor, the robot can be trained to recognize situations in which it can make decisions and carry them out.
As the developments in the AI and ML fields improve, we can look forward to robots that are not only superior decision makers, but also more independent of human direction. Maybe a robot really will take your job. Time to make a Plan B.
Sponsored Resources:
- How sensor data is powering AI in robotics
- Smart robots coming soon to a cubicle or kitchen near you
- Enabling the next generation of industrial robots
Related Resources:
About the Author

Lou Frenzel
Technical Contributing Editor
Lou Frenzel is a Contributing Technology Editor for Electronic Design Magazine where he writes articles and the blog Communique and other online material on the wireless, networking, and communications sectors. Lou interviews executives and engineers, attends conferences, and researches multiple areas. Lou has been writing in some capacity for ED since 2000.
Lou has 25+ years experience in the electronics industry as an engineer and manager. He has held VP level positions with Heathkit, McGraw Hill, and has 9 years of college teaching experience. Lou holds a bachelor’s degree from the University of Houston and a master’s degree from the University of Maryland. He is author of 28 books on computer and electronic subjects and lives in Bulverde, TX with his wife Joan. His website is www.loufrenzel.com.

