Dual-Mode IC, Module Target Bluetooth-Based Audio Designs
The nearly insatiable demand for high-performance Bluetooth-enabled audio is driving the development of enhanced ICs and modules for this application. Its complementary situation is the case as well, with new ICs and modules making this pairing smaller, cheaper, and better. The latest generation of generation of Bluetooth 5.0-qualified IS2083BM dual-mode audio IC and associated, fully certified BM83 module (Fig. 1), developed by Microchip Technology, bring multiple benefits to the design of wireless audio subsystems.
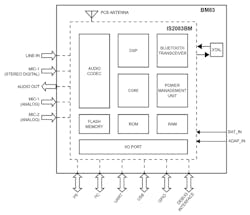
1. The BM83 from Microchip Technology is a complete Bluetooth RF module that incorporates the company’s IS2083BM high-functionality audio IC.
With its diminutive 5.5- × 5.5-mm BGA package, the IS2083BM targets small form-factor designs, enabling smaller enclosures or room for larger batteries, which in turn leads to even longer runtimes. This SoC contains an on-board Bluetooth stack, audio profiles, and supports 24-bit/96-kHz high-resolution (Hi-Res) audio formats for the highest-fidelity wireless audio. It decodes multiple audio formats and executes advanced audio- and voice-processing algorithms for wideband speech, acoustic echo cancellation (AEC), and noise reduction (NR). Connectivity options include USB, UART, and over-the-air (OTA) firmware upgrade.
The IC functions as a core platform for application implementation via an SDK with debug support and a GUI configuration tool for customization of peripheral settings and DSP functionality. The IS2083BM also controls the end-application via Bluetooth Low Energy (BLE) using the Microchip Bluetooth Audio (MBA) mobile app. On the RF side, the user-programmable transmit output power is +9.5 dBm maximum (under Enhanced Data Rate, EDR) and up to +11 dBm (typical) for Basic Data Rate (BDR) via the internal medium-power and low-power amplifiers. Basic receiver sensitivity is −90 dBm (2 Mb/s EDR).
The 32- × 15- × 2.5-mm BM83 module uses the IS2083BM as its core and completes the construction of a Bluetooth 5.0 dual-mode radio. The BM83 supports two modes of operation (Fig. 2). In embedded mode, no external MCU is involved and the BM83 acts as an MCU to control all peripherals to provide various speaker features. In host mode, it interfaces with an external MCU over the UART for application-specific system control.
2. The BM83 can be configured for use in MCU-free embedded mode, or the more flexible but “ambitious” MCU mode.
The detailed datasheets for each (65 pages and 76 pages for the IC and module, respectively) include a very helpful two-and-a-half-page list of acronyms, which unintentionally (or perhaps not) provides insight into the multifaceted capabilities, functions, and features of the devices. Both the IS2083BM IC and BM83 come with a suite of development tools, Microchip’s mobile application, and code examples for accelerating end-product development.
About the Author

Bill Schweber
Contributing Editor
Bill Schweber is an electronics engineer who has written three textbooks on electronic communications systems, as well as hundreds of technical articles, opinion columns, and product features. In past roles, he worked as a technical website manager for multiple topic-specific sites for EE Times, as well as both the Executive Editor and Analog Editor at EDN.
At Analog Devices Inc., Bill was in marketing communications (public relations). As a result, he has been on both sides of the technical PR function, presenting company products, stories, and messages to the media and also as the recipient of these.
Prior to the MarCom role at Analog, Bill was associate editor of their respected technical journal and worked in their product marketing and applications engineering groups. Before those roles, he was at Instron Corp., doing hands-on analog- and power-circuit design and systems integration for materials-testing machine controls.
Bill has an MSEE (Univ. of Mass) and BSEE (Columbia Univ.), is a Registered Professional Engineer, and holds an Advanced Class amateur radio license. He has also planned, written, and presented online courses on a variety of engineering topics, including MOSFET basics, ADC selection, and driving LEDs.
Voice Your Opinion!
To join the conversation, and become an exclusive member of Electronic Design, create an account today!

Leaders relevant to this article:



