AEC-Q100-Certified Gate Drivers Target Automotive Modules
Two members of Power Integrations’ SCALE-iDriver gate-driver IC family are now certified to AEC-Q100 Grade Level 1 for automotive use. The two parts, SID1132KQ and SID1182KQ, are suitable for driving 650-, 750-, and 1200-V automotive IGBT and SiC-MOSFET modules, and are rated for peak currents of ±2.5 A and ±8 A, respectively.
The SID1182KQ has the highest output current of any isolated gate driver available and is capable of driving a 600-A/1200-V and 820-A/750-V switch, according to the company.
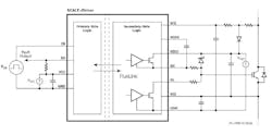
The SCALE-iDriver family of single-channel IGBT and SiC-MOSFET driver ICs features Power Integrations' FluxLink magneto-inductive bidirectional communication technology, which ensures reinforced galvanic isolation between the primary and secondary sides, setting a new standard in isolation integrity and stability.
FluxLink technology eliminates the need for optoelectronics, which suffer parametric changes with age and relentless thermal degradation that limits operational lifetime. Use of magnetically coupled conductors locked into a homogenous thermoset, high-quality insulation greatly enhances operational stability and longevity. The devices utilize Power Integrations' compact eSOP package, which offers a CTI level of 600 and 9.5-mm creepage and clearance distance.
SCALE-iDriver devices minimize the number of external components required, simplifying the BOM and permitting two-layer PCB layouts, which reduces interference and increases the reliability of the whole system. The automotive dc-dc converter for the secondary-side supply voltage is greatly simplified as only a unipolar voltage is required by the SCALE-iDriver IC. SCALE-iDriver ICs are priced at US$4.12 in 10,000 quantities.


