Class G Amplifier Targets Compact, High-Definition Car Audio
The TDA7901 amplifier developed by STMicroelectronics implements a Class G audio operations mode. Class G topology is about having it both ways. It’s a power-supply modification that takes advantage of the fact that musical and voice signals have a high crest factor, with most of the signal content at lower amplitudes. Crest factor—sometimes called a peak-to-average ratio—is the difference in decibels between the peak and average levels of a signal.
Here, Class G works based on an integrated buck controller that automatically adjusts the voltage rail depending on the audio signal level. Thus, efficiency is optimized at each output level. According to ST, the TDA7901 is nearly as efficient as a Class D amplifier when providing the normal listening level of audio power (1 W).
Because of its Class G approach, the dissipated “output power” under average listening conditions can be reduced more than in standard Class AB devices. The power dissipation is much lower compared with a conventional Class AB amplifier; therefore, the heatsink requirement also is optimized.
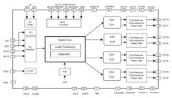
The TDA7901 is a single-chip quad-bridge amplifier that integrates a full digital-to-analog converter (DAC), digital input for direct connection to I2S, and MOSFET output stages. Integrating the buck controller in the IC contributes to system size and weight reduction, cuts the bill of materials, simplifies circuit design, and saves developing firmware to control the voltage rail.
Apps and Specs
The new amplifier is suited for many in-vehicle infotainment (IVI) systems, such as head units, smart cockpit systems, external amplifiers, and more. It has full in-play diagnostics, including real-time load-current monitoring through I2S or I2C interfaces, enabling ASIL-A certification of safety-related applications such as warning-tone generators and acoustic vehicle alerting systems. A digital impedance meter is provided as well, ensuring systems containing the TDA7901 can meet the demanding requirements of automotive OEMs.
Numbers aren’t everything, but the part, which also ensures immunity from any input disturbances, helps return audio performance that reaches a 117-dB S/N ratio with more than 117 dB of dynamic range and low noise. Furthermore, it boasts a frequency response that’s flat up to 80 kHz and supports HD (high definition) audio.
With its I2S digital input and quad-bridge-tied-load (BTL) output, the TDA7901 delivers 4x 43 W of audio power (at 4-Ω load and the outputs saturated at 14.4 V, according to ST). The amplifier’s wide supply-voltage range, spanning 4.5 to 18.5 V, prevents disruption by start-stop engine operation and general automotive electrical transients. Car makers have adopted the “start-stop” feature as a means to reduce fuel consumption.
A diagnostics array communicates the status of each speaker through the I2C bus. A digital-impedance-meter (DIM) function measures the value of the load. The same I2C bus enables the part to control several configurations of the device.
Meeting Multiple Requirements
STMicroelectronics points out that the TDA7901 guarantees EMI performance in line with the CISPR 25-restrictive standard requirement. CISPR is responsible for developing and maintaining the standards used to measure the emissions produced by vehicles and their components. CISPR 25 deals with “radio disturbance characteristics for the protection of receivers used on-board vehicles.”
To meet environmental requirements, ST offers these devices in different grades of ECOPACK packages, depending on their level of environmental compliance. ST products are classified according to the following ECOPACK grades (ECOPACK is an ST trademark):
- ECOPACK or ECOPACK1: Compliant with the RoHS directive, have second-level interconnect lead-free (with adapted reliability for soldering at higher temperature) and compliant with the ELV Directive.
- ECOPACK2: ECOPACK1 + free of brominated, chlorinated, and antimony-oxide flame retardants.
- ECOPACK3: ECOPACK2 + free of halogens with no RoHS exemptions.
The TDA7901 is due to enter production in the second half of 2022, in a Power-SO36 package that helps to reduce the overall system space occupation and cost. Pricing starts at $7.90 for orders of 1,000 pieces.
About the Author
Murray Slovick
Contributing Editor
Voice Your Opinion!
To join the conversation, and become an exclusive member of Electronic Design, create an account today!

Leaders relevant to this article:

