Auto-Qualified High-Side Switch Includes Enhanced Current-Sense Features
Even the highly sophisticated electronics of today’s cars—whether EV, BEW, or ICE—with almost countless sensors, processors, and their algorithms, need basic power-control devices. The RAJ2810024H12 from Renesas Electronics Corp. is one example of such a component targeting automotive E/E (electrical/electronic) architectures.
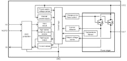
This N-channel high-side switch with an on-resistance (RDS(ON)) of 2.3 mΩ (typical)/3.0 mΩ (maximum) includes features beyond its built-in charge pump and 3.3-/5 V-compatible logic-level interface, which the vendor maintains makes it an “intelligent power device” (IPD) (Fig. 1).
It offers an advanced current-detection function that allows for highly accurate detection of abnormal currents including overcurrent, via proportional load-current sensing, and a defined fault signal in case of abnormal load condition. Since this switch detects abnormal currents even at low loads, it enables engineers to design safe and precise power-control systems that can detect even the smallest abnormalities.
The switch is suitable for resistive, inductive, and capacitive loads. Beyond its basic functions and enhanced features, the AEC-Q100-qualified switch comes in a small TO-252-7 package (Fig. 2). It reduces the mounting area by about 40% compared to the widely used, conventional TO-263 package.
About the Author

Bill Schweber
Contributing Editor
Bill Schweber is an electronics engineer who has written three textbooks on electronic communications systems, as well as hundreds of technical articles, opinion columns, and product features. In past roles, he worked as a technical website manager for multiple topic-specific sites for EE Times, as well as both the Executive Editor and Analog Editor at EDN.
At Analog Devices Inc., Bill was in marketing communications (public relations). As a result, he has been on both sides of the technical PR function, presenting company products, stories, and messages to the media and also as the recipient of these.
Prior to the MarCom role at Analog, Bill was associate editor of their respected technical journal and worked in their product marketing and applications engineering groups. Before those roles, he was at Instron Corp., doing hands-on analog- and power-circuit design and systems integration for materials-testing machine controls.
Bill has an MSEE (Univ. of Mass) and BSEE (Columbia Univ.), is a Registered Professional Engineer, and holds an Advanced Class amateur radio license. He has also planned, written, and presented online courses on a variety of engineering topics, including MOSFET basics, ADC selection, and driving LEDs.
Voice Your Opinion!
To join the conversation, and become an exclusive member of Electronic Design, create an account today!

Leaders relevant to this article:


