LEDs Brighten the Future of Automotive Lighting
Download this article in PDF format.
For years now, LED technology has been gradually finding its way into automobiles. LEDs have become brighter, more efficient, and less expensive. Automotive lighting has made driving safer, but it’s introduced some sophisticated and complex electronic changes that create challenges for designers. Let’s take a look at automotive lighting basics and the latest developments impacting design.
Why Use LEDs in Automotive Applications?
There are two major rationales. First, LEDs are more efficient than the older incandescent bulbs. They consume less power for the same or greater illumination intensity. Evaluations indicate that LEDs are six times more efficient than the incandescent bulbs they replace.
Second, LEDs have a longer service life than an incandescent bulb. Headlights, tail lights, and others burn out after 1,200 or more hours of operation. And replacement is usually expensive. The average LED has a lifetime of 42 times that of an incandescent. With a service life of over 50,000 hours, you may never have to replace a light source in your vehicle.
Sponsored Resources:
- 120W matrix-compatible headlight electronic control unit (ECU) reference design
- Flexible configuration of LED drivers
- The three trends influencing rear lighting systems
Automotive Lighting ABCs
You can divide automotive lighting applications into three categories: exterior front, exterior rear, and interior. This article will focus on exterior lighting. Front exterior lights include headlights, high and low beams, daytime running lights (DRLs), fog lights, and turn signals. Some vehicles also feature adaptive headlight lighting that enables better illumination around curves while driving in low-light conditions.
Rear lighting consists of tail lights, stop lights, backup lights, and a license-plate light. And there may be other decorative or style lighting depending on the manufacturer. In any case, with a full complement of front and rear LED lights, power consumption can be high. But that turns out to be less power than what’s consumed by older incandescent lights.
Automotive lights are individual LEDs grouped together to form a matrix or cluster. Most automotive LEDs are white, but red and amber are also available in different sizes and light intensities. Light guides, lenses, and diffusers are used to make the light appear as though it comes from a single source, eliminating the individual dot look of the early LED automotive light fixtures.
Special drivers are needed to operate the LEDs. One driver IC can typically handle a cluster of multiple LEDs. The drivers are current sources with appropriate drive and interface circuits. The typical arrangement is a series string of LEDs, so that all LEDs receive the same current. This is essential to ensure the uniform color and brightness of the lights.
LED drivers are essentially dc-dc converters/regulators. They operate from the car’s 12-V system and provide either a lower or higher dc output as required. Buck and boost types are common as are buck-boost, SEPIC, and Cuk. The drivers connect to a master control MCU, and a CAN interface network is provided to route the control signals around the vehicle as needed.
Front and Rear Lighting
Front lighting is generally fixed and similar on all vehicles—headlights, DRLs, and turn signals are all mandated and standardized. Special drivers are required, of course. The newest innovations include dimming and adaptive front lighting (AFL). Dimming, used to prevent blinding oncoming vehicles, is accomplished with pulse-width modulation (PWM).
AFL consists of two additional lights, generally to the left and right of the headlights. These lights provide extra side illumination for making turns safely at night. As the steering wheel begins its turn to the right or left, the AFL units turn on and move to direct the light to the side. Stepper motors are commonly used for this purpose. Up and down movement can adjust the lights so as not to interfere with oncoming driver vision.
The story is different with rear lighting. While tail lights, stop lights, and backup lights are required, the rear of the vehicle has become an open territory that manufacturers can explore with new designs. Vehicle makers like to create a unique look or symbol that designates a particular make or model. Some vehicles may sport a signature look implemented with a creative light presentation or operation. A current trend is lighting that extends across the entire rear of the vehicle.
Rear lighting is getting more interesting as manufacturers want pixel-level control where a pixel is one LED, which would enable a variety of tail-light animations. Newly available drivers provide for this capability. Three trends are influencing rear-lighting systems: complex animation, evolving lamp styles, and diagnostics. Consider the following links to learn more.
The Auto Lighting System
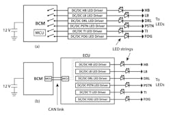
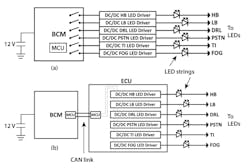
Equipment that makes up the older traditional lighting systems of vehicles consists of the body control module (BCM) and the LED drivers (see the figure, a). The BCM is a block of electronics with a microcontroller (MCU) base that operates all or most of the various electrical and electronic systems associated with the body of the vehicle, such as doors, windows, mirrors, seats, and lighting. The BCM operates the individual light drivers.
The older LED driver circuits were operated by the MCU in the body control module (a). With the newer configurations, the body control module sends commands to the electronic control unit (b). The ECU contains the drivers that operate the LEDs.
The modern version consists of the BCM and a separate electronic control unit (ECU). The ECU contains the LED drivers (see the figure, b). The MCU in the BCM operates the drivers via the MCU in the ECU. A controller-area-network (CAN) bus provides a communications link between the BCM and ECU.
Design Challenges
Engineers designing automotive lighting systems face some daunting challenges. Main issues affecting the design of the drivers and their packaging include:
- Operating from the 12-V auto battery power bus, which can have a voltage on it from a low of about 6 V during start-stop restarts, or as high 16 V on a bus during charging by the alternator. Other problems are transients or pulses that can peak at 36 V during a load dump.
- Operating over a huge temperature range, typically spanning from −40 to + 85°C.
- Providing fault diagnosis, which is highly desirable given the complexity of the lighting systems these days.
- Meeting EMI/EMC rules. LED drivers are switch-mode power supplies that tend to generate noise. It’s essential that autos don’t interfere with other vehicles or other electronic equipment nearby. Lighting systems are usually tested by the standards organization Comite’ International Special des Perturbations Radio’electriques (CISPR) 25 and according to noise-immunity standards such as ISO 11452-5.
To help with these challenges, Texas Instruments offers a line of LED drivers and support circuits that can help with your design.
LED Driver Examples
Typical of the latest generation of LED drivers is Texas Instruments’ TPC929120-Q1. It operates from a supply voltage in the 4.5- to 40-V range over a temperature range of −40 to + 125°C. The AEC-Q100-qualified driver meets the needs of trends regarding pixel-level control and diagnostics. Key features are 12 independent output channels with 40-V high-side drivers, 8-bit output-current selection, and 12-bit PWM duty-cycle selection. All 12 channels can be individually dimmed via PWM.
A desirable new feature is the built-in diagnostics and protection. The IC can detect open or shorted LEDs amongst others, and it includes overvoltage and overtemperature protection. The internal FlexWire serial data interface provides communications over standard CAN physical-layer wiring and allows for long-distance runs of cable in the vehicle without causing interference.
Other driver ICs are also available for advancing headlight needs. Headlights are often implemented via a dual-stage power supply for high-power LEDs. The first stage can be accomplished with the TPS92682-Q1 LED Driver. It’s highly configurable and can be utilized as a constant-current buck boost/boost/SEPIC LED driver for static headlights, or as a constant-voltage boost regulator for adaptive systems. The second stage can be powered with the TPS92520-Q1 monolithic buck LED driver, which dims via analog or PWM control. It operates at up to a 2.2-MHz switching frequency, and with an exposed top side pad on the package, it resolves many of the thermal challenges that may come with headlight design. Communications for both devices comes via SPI capability.
Moreover, the TPS9266x-Q1 family of LED matrix managers enables fully dynamic adaptive-lighting solutions by providing individual pixel-level LED control. The matrix managers include four sub-strings of three series-connected integrated switches for bypassing individual LEDs. Other switching arrays enable a variety of operations for pixel control.
Available Reference Design
A good starting point for a static or adaptive headlight design is TI’s reference design. TIDA-050030. This 120-W matrix-compatible headlight electronic-control-unit (ECU) reference design incorporates a heat-sink metal enclosure and CISPR 25 Class 5 conducted test data, letting you design a thermally efficient headlight ECU. The reference design uses both the TPS9282-Q1 and TPS92520-Q1 LED drivers, and is useful for driving pixel-controlled LED loads.
The article “How to flexibly configure an LED driver for automotive headlights” is an excellent primer on ECU configuration and uses the TPS92682-Q1 LED driver as a case study. With constant-current and constant-voltage modes, this highly flexible solution addresses the headlight challenges of today and tomorrow.
Sponsored Resources:
About the Author

Lou Frenzel
Technical Contributing Editor
Lou Frenzel is a Contributing Technology Editor for Electronic Design Magazine where he writes articles and the blog Communique and other online material on the wireless, networking, and communications sectors. Lou interviews executives and engineers, attends conferences, and researches multiple areas. Lou has been writing in some capacity for ED since 2000.
Lou has 25+ years experience in the electronics industry as an engineer and manager. He has held VP level positions with Heathkit, McGraw Hill, and has 9 years of college teaching experience. Lou holds a bachelor’s degree from the University of Houston and a master’s degree from the University of Maryland. He is author of 28 books on computer and electronic subjects and lives in Bulverde, TX with his wife Joan. His website is www.loufrenzel.com.
Voice Your Opinion!
To join the conversation, and become an exclusive member of Electronic Design, create an account today!

Leaders relevant to this article:

