The Multi-Switch Detection Interface: A Cure for Many BCM Ailments (.PDF Download)
An automotive body control module (BCM) is an electronic control unit (ECU) that manages a wide range of vehicle comfort, convenience, and lighting functions, including the central locking system, power windows, chimes, closure sensors, interior and exterior lighting, wipers, and turn signals.
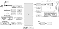
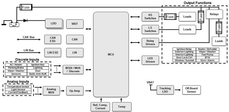
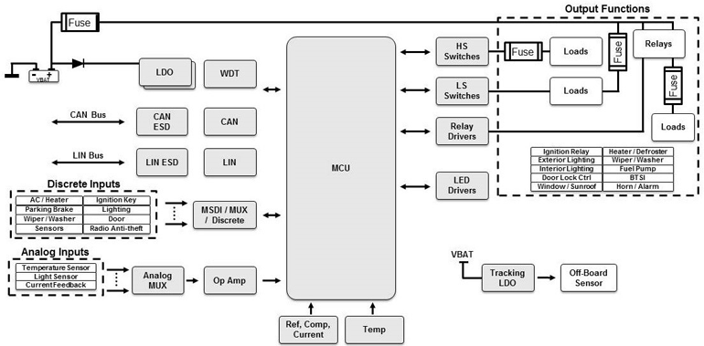
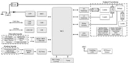
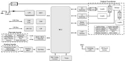
Figure 1 shows the functional blocks in a BCM. The primary function of the BCM is to monitor the status of discrete switches and analog sensors related to these functions and control high- and low-side switches, relays, and LED drivers. The BCM also exchanges information with other modules over a vehicle network: the Controller Area Bus (CAN) or Local Interface Network (LIN) protocols are both widely used.
1. A BCM manages a wide range of comfort, convenience, and lighting functions. (Source: TI blog: “The multi-switch detection interface: integrated feature for smaller, more efficient designs,” Fig. 1)
The number of switches and sensors varies from one vehicle to the other, but it can be 100 or more in a high-end implementation. There are two common types of switches in a vehicle (Fig. 2). A digital switch (Fig. 2a) only has two states, open and closed. Examples include the seat-belt engaged switch, rear-window defroster on/off, front and rear fog push button, the trunk switch, and the door-locking switch. The digital switch most commonly switches to ground, but switching to the battery voltage is also possible.

