Tiny, Low-Power Multimedia Codecs: More than Just ADCs and DACs
Download this article in PDF format.
It’s simplistic to think of a multimedia codec (coder/decoder) as a simple pairing of analog-to-digital and digital-to-analog converters (ADCs and DACs), often with a few “bells and whistles” placed around those functions. After all, the core function of the codec is very basic: Encode analog audio as a digital stream and implement the complementary function of decoding digital audio back into analog, and do so using one or more industry-standard formats.
There’s a strong set of opposing forces at work in codec selection. On one side, designers would like to have a low-power, extremely small device for many reasons. These attributes are especially important since many of the applications are highly portable, such as smartphones, tablets, mobile gaming systems, music players, wireless voice headsets, earbuds, and other audio-enabled and -centric devices. Their codecs need to be extremely efficient in their static, active, and quiescent power consumption, as well as in their dynamic dissipation as audio volume and use-circumstances change.
Sponsored Resources:
- Enhancing Battery Life and Audio Performance in Mobile Devices
- Enhance Battery Life and Sound Quality for Hearables and Wearables with the MAX98090
- Device Configuration for Skype Long-Range Speakerphone and TV Applications
However, there’s the usual power/performance challenge and dilemma. End-users expect to be able to crank up the volume for noisy surroundings (or maybe they just like it loud), while experiencing no audible hiss at the other end of the volume setting when in quiet surroundings.
There’s also a need to provide mixed-signal functionality for
- Analog and digital volume control
- Low-pass filters that can attenuate higher-frequency noise
- DC-block filters to remove range-diminishing offset from the audio signal
- Dynamic range control that smooths out high-volume peaks
- Filters and equalizers that make it possible to match the audio-output spectrum to the speaker elements in the headphones
It’s not just qualitative features either, as codec performance is fully quantifiable using metrics such as total harmonic distortion (THD), total harmonic distortion + noise (THD + N), and signal-to-noise ratio (SNR).
More or Less?
These multiple demands define the usual engineering-design dilemma: Go with lower power requirements and accept fewer features and reduced performance, or go with “more” including size and dissipation. There is, of course, also a design-in effort versus system bill-of-materials (BOM) cost at work here. In the case of lower power, for example, the system-level impact may be offloading the required features and function to the associated host processor, which in turn will need to have more processing power, more memory, higher dissipation, and higher cost. Addressing this tradeoff and resolving it by finding the “sweet spot” amid the conflicting goals of trying to achieve a high level of audio quality at the lowest possible power and footprint can be frustrating. There’s no “just right” place on the matrix map of possibilities.
This conflict has defined the situation until recently, but it’s no longer the case due to technology and IC-design advances. The newest audio codecs simultaneously meet the multiple performance and function objectives, and do with a tiny footprint and extremely low power requirements. The result is that the designer can specify a component that makes the audio codec core and related functions into non-issues while offering the options needed to tailor the final product to the market niche being targeted.
Engineers also appreciate a product with enough flexibility that they can use it across multiple designs in their product line, and even into the next generation. Doing so means a shorter learning curve (and there always is one); faster design-in cycle time; better understanding of associated PCB layout issues, EMI considerations, and power-rail specifications; and one thing less on the BOM to worry about, to cite just some of the advantages of these ICs.
Audio Codec Solution
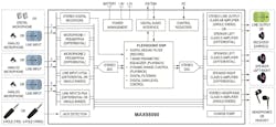
For example, the MAX98090 audio codec from Maxim Integrated combines high performance, functionality, and flexibility with ultra-low power consumption and extremely small size (Fig. 1). While that’s a broad set of claims, a look at the specifics supports them.
1. In addition to providing high-end audio performance in a tiny package and with ultra-low power consumption, the Maxim MAX98090 stereo codec offers a wide range of connection and encoding options. Also, designer-selectable features and functions tailor the part to the application specifics while enhancing the user experience.
Its flexible input scheme provides six input pins (wafer level packaging, or WLP) that can be configured as analog or digital microphone inputs, differential or single-ended line inputs, or even as full-scale direct differential inputs. The analog inputs can be routed to the record-path ADC or directly to any analog-output mixer. System interface is via an I2C control port with two address options.
The device’s record and playback paths feature programmable, hardware-based, low-power, advanced digital signal processing (dubbed FlexSound audio technology), including volume control, digital gain and filtering, dynamic range control (Fig. 2), biquad filters, and a seven-band equalizer that can improve loudspeaker performance by optimizing the frequency response. The integral stereo Class D speaker amplifier offers efficient amplification and low radiated emissions, while supporting filter-less operation (which saves on BOM costs and real estate) to drive both 4-Ω and 8-Ω loads.
2. Dynamic-range control (DRC) provides a wide range of programmable attack and release times. When compression is enabled and the signal amplitude increases until the compression threshold is exceeded, the attack time determines how quickly the selected compression ratio is applied. When the signal amplitude decreases and the compression threshold would no longer be exceeded, the release time determines how quickly the gain returns to normal.
A DirectDrive stereo headphone amplifier (in a power-saving Class H topology) features a ground-referenced output that eliminates the need for large dc-blocking capacitors, further shrinking the BOM and overall function space requirements. A differential receiver or earpiece amplifier can be reconfigured as a stereo single-ended line output. The digital audio interface supports master- or slave-mode operation, sample rates from 8 to 96 kHz, and standard PCM formats such as I2S, left/right-justified, and TDM, with a master clock at frequencies of either 256 times the sampling-clock frequency (fs) to 10 to 60 MHz.
It’s not just features and functions—performance specifications make the MAX98090 audio codec stand out as well. It features 102-dB dynamic range for the stereo DAC/headphone path and 99 dB for the stereo ADC (8 kHz < fS < 96 kHz). The low-EMI stereo Class D speaker amplifiers deliver 3.2 W/channel into 4 Ω and 1.8 W/channel into 8 Ω (both with VSPK_VDD = 5 V, WLP), but can also operate at voltages under 2 V. THD + N, a function of operating mode and configuration, is in the −85 to −88 dB range. The headphone amplifier includes jack detection and identification (Fig. 3), while extensive click-and-pop reduction circuitry reduces those artifacts by about 65 dB.
3. The MAX98090 uses a combination of pull-up resistors and weak versus strong pullup currents to determine if a headphone (left) or headset (right) is plugged in to a system jack, or if the jack is unused.
Power consumption is as low as 6 mW and 4.2 mW (stereo playback and record, respectively). That dissipation rating also supports a small footprint: The MAX98090 audio codec is available as a 49-bump WLP chip measuring 3.15 × 3.15 mm, or in a slightly larger 40-pin TQFN package (5 × 5 mm).
The comprehensive datasheet provides basic setup, configuration, and functional information, but also well over 100 performance graphs and tables detailing static and dynamic performance under nearly every conceivable condition. The datasheet also includes specifics of PB layout, bypassing, and other application subtleties. To further accelerate design-in, there’s an evaluation kit for each package type, along with evaluation software.
Sponsored Resources:
- Enhancing Battery Life and Audio Performance in Mobile Devices
- Enhance Battery Life and Sound Quality for Hearables and Wearables with the MAX98090
- Device Configuration for Skype Long-Range Speakerphone and TV Applications
Related Resources:
About the Author

Bill Schweber
Contributing Editor
Bill Schweber is an electronics engineer who has written three textbooks on electronic communications systems, as well as hundreds of technical articles, opinion columns, and product features. In past roles, he worked as a technical website manager for multiple topic-specific sites for EE Times, as well as both the Executive Editor and Analog Editor at EDN.
At Analog Devices Inc., Bill was in marketing communications (public relations). As a result, he has been on both sides of the technical PR function, presenting company products, stories, and messages to the media and also as the recipient of these.
Prior to the MarCom role at Analog, Bill was associate editor of their respected technical journal and worked in their product marketing and applications engineering groups. Before those roles, he was at Instron Corp., doing hands-on analog- and power-circuit design and systems integration for materials-testing machine controls.
Bill has an MSEE (Univ. of Mass) and BSEE (Columbia Univ.), is a Registered Professional Engineer, and holds an Advanced Class amateur radio license. He has also planned, written, and presented online courses on a variety of engineering topics, including MOSFET basics, ADC selection, and driving LEDs.
Voice Your Opinion!
To join the conversation, and become an exclusive member of Electronic Design, create an account today!

Leaders relevant to this article:



