“Shrunken” Smart BLDC Motor Driver Includes 600-V IGBT Array
With all of the deserved attention that silicon-carbide- and gallium-nitride-based systems are receiving, it’s easy to overlook a sturdy, less-glamorous “workhorse” power-switching device that’s been in widespread use for decades—the insulated-gate bipolar transistor (IGBT). To this day, it’s still the right choice in many applications.
Demonstrating the continued role and need for IGBTs, Toshiba Electronics extended its range of what the company designates as “intelligent power devices” (IPDs) for brushless DC (BLDC) motor-drive applications. The new components are well-suited for use in pumps, air conditioning, ventilation, fans, and similar applications.
In-use application requires a minimum number of discrete external components. The design allows for simple interfacing and control of a BLDC motor using logic inputs from an MCU or motor controller.
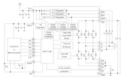
The new IPDs are based on 600-V-rated IGBTs and include a matched gate driver to deliver a complete, integrated solution in a compact package (Fig. 1). The TPD4163K and TPD4164K come in a 31-pin HDIP30 through-hole package measuring approximately 33 × 13.5 × 3.5 mm. This innovative package reduces the PCB mounting area by over 20% compared to Toshiba’s DIP26 products like the TPD4123x, TPD4144x, and TPD4135x.
The TPD4163K maintains a maximum DC current (IOUT(max)) rating of 1 A, while the more powerful TPD4164K is rated at 2 A. IGBT saturation voltage (VCE(sat)) of the devices is 2.6 V and 3.0 V, respectively, while the diode forward voltages (VF) are 2.0 V and 2.5 V. That maximum supply voltage rating, or VBB(max), increases the design margin. This enhancement is particularly useful in locations where mains power varies or subject to fluctuations.
The devices include a three-shunt-resistor circuit for current sensing, along with level-shifting high-side drivers, low-side drivers, IGBT outputs, fast-recovery diodes, and protective functions for overcurrent and undervoltage. A bootstrap circuit allows for simple high-side supply, while a 5-V regulator is also built in.
To ease the often-challenging task of designing a complete, properly adjusted and functioning BLDC motor drive, Toshiba also offers the RD179-2 reference design for the 2-A TPD4164K that uses its TMPM374FWUG microcontroller as an embedded vector control engine (Fig. 2).
It measures 130 × 85 × 53.4 mm and includes three red LEDs for status display, four DIP switches for status setting, and a potentiometer for speed setting (Fig. 3).
About the Author

Bill Schweber
Contributing Editor
Bill Schweber is an electronics engineer who has written three textbooks on electronic communications systems, as well as hundreds of technical articles, opinion columns, and product features. In past roles, he worked as a technical website manager for multiple topic-specific sites for EE Times, as well as both the Executive Editor and Analog Editor at EDN.
At Analog Devices Inc., Bill was in marketing communications (public relations). As a result, he has been on both sides of the technical PR function, presenting company products, stories, and messages to the media and also as the recipient of these.
Prior to the MarCom role at Analog, Bill was associate editor of their respected technical journal and worked in their product marketing and applications engineering groups. Before those roles, he was at Instron Corp., doing hands-on analog- and power-circuit design and systems integration for materials-testing machine controls.
Bill has an MSEE (Univ. of Mass) and BSEE (Columbia Univ.), is a Registered Professional Engineer, and holds an Advanced Class amateur radio license. He has also planned, written, and presented online courses on a variety of engineering topics, including MOSFET basics, ADC selection, and driving LEDs.
Voice Your Opinion!
To join the conversation, and become an exclusive member of Electronic Design, create an account today!

Leaders relevant to this article:



