DrMOS Power Module
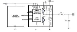
Intersil's ISL99140 is a high performance DrMOS power module designed for high frequency power conversion. By combining a high performance FET driver and MOSFETS in an advanced package, high density DC/DC converters may be created. Combined with an Intersil PWM controller, a complete voltage regulator solution can be created with reduced external components and minimum overall PCB real estate.
The ISL99140 features a three-state PWM input that, working together with Intersil's multiphase PWM controllers, will provide a robust solution in the event of abnormal operating conditions. To further support robust applications, theISL99140 features a thermal warning output that may be used to notify the power system of an impending thermal fail event.
The ISL99140 supports high efficiency operation not only at heavy loads, but also at light loads via its diode emulation capability. Diode emulation can be disabled for those applications where variable frequency operation is not desired at light loads.
Applications
- High frequency and high efficiency VRM and VRD
- Core, graphic, and memory regulators for microprocessors
- High density VR for server, networking and cloud computing
- POL DC/DC converters and video gaming consoles

