Quad DPWM Step-Down Controller Spotlighted at APEC 2016
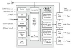
The XR77129 developed by Exar is a quad-channel digital pulse-width-modulated (DPWM) step-down (buck) controller, and will be on display at APEC 2016, which runs from March 20-24 in Long Beach, Calif. It features an extremely wide 6- to 40-V input voltage range, allowing for single-supply operation from standard power rails.
With integrated FET gate drivers, two LDOs for standby power, and a 105-kHz to 1.23-MHz independent channel to channel programmable constant operating frequency, the XR77129 reduces overall component count and solution footprint and optimizes conversion efficiencies. A selectable digital pulse frequency mode (DPFM) is capable of better than 80% efficiency at light current load and low operating current, suiting it for portable and Energy Star-compliant applications.
Each XR77129 output channel is individually programmable as low as 0.6 V with a resolution as fine as 2.5mV. The controller is also configurable for precise soft-start and soft-stop sequencing, including delay and ramp control. It’s fully controlled via a SMBus-compliant I2C interface, allowing for advanced local and/or remote reconfiguration, full performance monitoring and reporting, as well as fault handling.
Built-in independent output overvoltage, over temperature, overcurrent, and undervoltage lockout protections ensure safe operation under abnormal operating conditions.
The XR77129 comes in a RoHS-compliant, "green"/halogen-free, 44-pin TQFN package.
Looking for parts? Go to SourceESB.
About the Author
Voice Your Opinion!
To join the conversation, and become an exclusive member of Electronic Design, create an account today!

Leaders relevant to this article:

