New Low-Power Wireless Solution Targets IoT Sensors
Check out more Sensors Converge coverage.
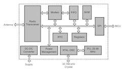
SPARK Microsystems' George Taylor shows off the company's low-power, ultra-wideband (UWB) wireless communication support using a motion-sensing IoT device. The demo is based on the SPARK SR1000 UWB wireless transceivers (Fig. 1). UWB provides low latency and requires little power compared to other wireless communication methodologies.
Latency is 40 µs when running at 1 kb/s. The system also supports time-of-flight (ToF) positioning with a 30-cm accuracy. The chips are supported by an SDK and evaluation kits.
Links
About the Author
William G. Wong
Senior Content Director - Electronic Design and Microwaves & RF
I am Editor of Electronic Design focusing on embedded, software, and systems. As Senior Content Director, I also manage Microwaves & RF and I work with a great team of editors to provide engineers, programmers, developers and technical managers with interesting and useful articles and videos on a regular basis. Check out our free newsletters to see the latest content.
You can send press releases for new products for possible coverage on the website. I am also interested in receiving contributed articles for publishing on our website. Use our template and send to me along with a signed release form.
Check out my blog, AltEmbedded on Electronic Design, as well as his latest articles on this site that are listed below.
You can visit my social media via these links:
- AltEmbedded on Electronic Design
- Bill Wong on Facebook
- @AltEmbedded on Twitter
- Bill Wong on LinkedIn
I earned a Bachelor of Electrical Engineering at the Georgia Institute of Technology and a Masters in Computer Science from Rutgers University. I still do a bit of programming using everything from C and C++ to Rust and Ada/SPARK. I do a bit of PHP programming for Drupal websites. I have posted a few Drupal modules.
I still get a hand on software and electronic hardware. Some of this can be found on our Kit Close-Up video series. You can also see me on many of our TechXchange Talk videos. I am interested in a range of projects from robotics to artificial intelligence.


