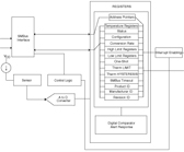
STTS751 block diagram
STMicroelectronics’ STTS751 is a low-voltage, high precision, 6-pin digital temperature sensor. Its programmable resolution allows the host controller to select the optimal configuration between sensitivity and conversion times.
The STTS751 can be placed in standby mode to minimize power consumption. Sample rates can be adjusted from once every 16 seconds up to 32 samples per second. A one-shot mode allows for very low average power consumption. It can wake the chip from sleep mode and then power down after notifying the host. Two different part types, STTS751-0 and STTS751-1, have a total of 8 distinct addresses when using the same SMBus or I2C bus. The chip has an SMBus clock low timeout to prevent a slave from locking up the bus. This is not available on buses which are only I2C compliant.
About the Author
Staff
Articles, galleries, and recent work by members of Electronic Design's editorial staff.
Voice Your Opinion!
To join the conversation, and become an exclusive member of Electronic Design, create an account today!

Leaders relevant to this article:
