IO-Link Adds 4-Channel Master and Signal-Conditioning IC Support
Designers of industrial-automation applications have many viable choices for sensor-related signal conditioning and network connectivity, each with a variety of attributes. Among these is IO-Link, a digital communication protocol that enables seamless communication between sensors, actuators, and other devices in automation systems.
IO-Link (as standardized in IEC 61131-9) has become increasingly popular in recent years due to its ability to provide real-time data and diagnostics and its ease of use and compatibility with existing systems. It also regulates and reduces wiring, enhances data availability, and offers remote configuration and monitoring.
An IO-Link master acts as the interface between IO-Link devices and the higher-level control system, such as a programmable logic controller (PLC). It can connect multiple IO-Link devices and non-IO-Link devices through its ports, facilitating efficient data exchange and control while ensuring backwards compatibility (Fig. 1).
Of course, any such standard is only as useful as the hardware (IC) and other support it receives. To advance further adoption of IO-Link, Renesas Electronics Corp. introduced two semiconductor solutions for the rapidly growing IO-Link market: the CCE4511, a four-channel IO-Link master IC, and the ZSSC3286, an IO-Link-ready, dual-channel, resistive-sensor signal-conditioner IC.
CCE4511 Four-Channel IO-Link Master IC
Renesas maintains that the CCE4511 is the industry’s first four-channel master IC for the IO-Link protocol (Fig. 2). With 500 mA of drive current for each channel, it provides numerous advantages over two-channel master devices, including reduced energy demands, reduced PCB size, and the need for fewer external components than competitive offerings.
The CCE4511 offers a high-voltage interface along with overvoltage detection and overcurrent protection. To improve application performance, an integrated IO-Link Frame Handler is provided, which automates most of the lower-layer communication tasks. This feature reduces the microcontroller (MCU) loads significantly, thus gaining more performance for other tasks, and/or allowing designers to use a less expensive MCU.
The master IC is specified for an ambient operating temperature of up to 125°C, making it suitable for harsh industrial environments. It also supports detection of ready pulses from IO-Link devices, which is required to fulfill the newly defined IO-Link Safety System Extension.
The CCE4511 is housed in an 8- × 8-mm 56-QFN package. In addition to its 60-page datasheet, it’s supported by the CCE4511-EVAL-V1 evaluation board (Fig. 3). The board can be used with any suitable external MCU (preferably with a Pmod interface, such as the YCONNECT-IT-RZN2L.
This evaluation board has 8 IO-Link channels, which is a common channel count for industry standard IO-Link Masters, additional protection circuitry, and a flexible power supply. Renesas also offers the Altium Board and schematic files, enabling customers to inspect and implement them in their own designs.
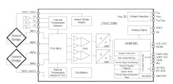
ZSSC3286 IO-Link-Ready, Dual-Channel, Resistive-Sensor Signal-Conditioner IC
The ZSSC3286 is a dual-path sensor signal-conditioning IC (SSC) for precision amplification, digitization, and sensor-specific correction of sensor signals (Fig. 4). It supports IO-Link connectivity with an integrated IO-Link stack running the IO-Link Smart Sensor Profile for digital measuring and switching sensors. The device is suitable for bridge and half-bridge sensors, as well as external voltage-source elements.
Digital compensation of the sensor offset, sensitivity, temperature drift, and nonlinearity is accomplished via a 32-bit Arm-based math core running a correction algorithm with calibration coefficients stored in a non-volatile, reprogrammable memory. The programmable, integrated sensor front-end allows for optimally applying various sensors for a broad range of applications.
The SSC accommodates nearly all resistive bridge sensors in various configurations, including the resistive bridge or half-bridge; resistive divider string; and voltage source. There’s an on-chip temperature sensor; the IC allows for external temperature sensing as well. Programmable 16-bit digital-to-analog-converter and output support includes an absolute voltage output spanning 0 to 1 V, 0 to 5 V, or 0 to 10 V, and the classic (and still widely used) 4- to 20-mA current-loop output is offered, too.
Renesas says that the ZSSC3286 is the first sensor signal conditioner with an integrated stack that’s compliant with IO-Link. Traditionally, an additional microcontroller has been used to run the stack. The ZSSC3286 renders the MCU obsolete, saving board space and costs. It also offers two parallel ADCs with up to 24-bit resolution, a measurement scheduler for optimized performance, and advanced system diagnostic functions.
As with the CCE4511, the ZSSC3286 has an evaluation kit that provides the hardware needed for the configuration, calibration, and evaluation (Fig. 5).
The user's PC can communicate via USB with the ZSSC3286 IC socketed on the evaluation board via IO-Link, using the included RH4Z2501-PMOD board (IO-Link physical layer transceiver board with Pmod interface) and the two-channel IO-Link master. Furthermore, the ZSSC3286 evaluation kit contains the SSC communication board for configuration via an I2C link.
The ZSSC3286, with 114-page datasheet, is packaged in a 5- × 5-mm 40-QFN. It’s also available in wafer-level chip-scale package (WLCSP) format.
Renesas Documentation and Support
In addition to the requisite datasheets and evaluation boards, Renesas offers informative white papers related to IO-Link and these ICs, providing insight into interfacing and connectivity issues. Links to these resources and more are at the respective web product pages for the CCE4511 and the ZSSC3286.
References
International Electrotechnical Commission, “IEC 61131-9: Programmable controllers - Part 9: Single-drop digital communication interface for small sensors and actuators (SDCI).”
Renesas White Paper, “Revolutionizing Sensing in Industrial Automation with IO-Link.”
Renesas White Paper, “It’s All about the Money!: Reducing Costs of IO-Link Master Designs with the CCE4511.”
Renesas Application Note, “CCE4511 Typical Application Circuitry.”
About the Author

Bill Schweber
Contributing Editor
Bill Schweber is an electronics engineer who has written three textbooks on electronic communications systems, as well as hundreds of technical articles, opinion columns, and product features. In past roles, he worked as a technical website manager for multiple topic-specific sites for EE Times, as well as both the Executive Editor and Analog Editor at EDN.
At Analog Devices Inc., Bill was in marketing communications (public relations). As a result, he has been on both sides of the technical PR function, presenting company products, stories, and messages to the media and also as the recipient of these.
Prior to the MarCom role at Analog, Bill was associate editor of their respected technical journal and worked in their product marketing and applications engineering groups. Before those roles, he was at Instron Corp., doing hands-on analog- and power-circuit design and systems integration for materials-testing machine controls.
Bill has an MSEE (Univ. of Mass) and BSEE (Columbia Univ.), is a Registered Professional Engineer, and holds an Advanced Class amateur radio license. He has also planned, written, and presented online courses on a variety of engineering topics, including MOSFET basics, ADC selection, and driving LEDs.





